evectra_main_Blog1_1x1_as

05/03/2013

Como funciona o dinamômetro (MEC127 )


A medida do torque e força de dispositivos mecatrônicos é um problema que nem todos os montadores, projetistas e mesmo professores resolvem com facilidade. Nesse artigo mostramos como funciona um dinamômetro eletrônico e como montar um com peças comuns de fácil obtenção. Se o leitor não sabe como medir as características daquele motor que pretende usar num projeto, eis uma excelente oportunidade para resolver o seu problema.
No projeto de dispositivos mecatrônicos encontramos dois problemas básicos: medir o torque e medir a força exercida por partes móveis como braços, pistões, atuadores, etc.
Para medir o torque e a força utilizamos um instrumento denominado dinamômetro.
A versão eletrônica do dinamômetro tem um funcionamento simples de entender e com base nela podemos construir uma versão "feita em casa", utilizando componentes comuns de fácil obtenção.
O dinamômetro eletrônico
Quando o eixo de um motor comum de corrente contínua é gerado, ele funciona como um gerador comum ou dínamo, conforme mostra a figura 1.
Gerador comum ou dínamo.
Gerador comum ou dínamo.
Essa propriedade é justamente aproveitada na elaboração do dinamômetro.
Nas condições de operação sem carga, um dínamo gera uma certa tensão e nenhuma corrente.
Nessas condições a potência transferida pelo sistema mecânico ao eixo do motor é nula e ele pode girar praticamente sem esforço algum.
O esforço que notamos deve-se exclusivamente ao atrito de suas partes mecânicas.
No entanto, se ligarmos cargas no motor que é forçado a girar, essas cargas vão exigir a circulação de uma corrente, ou seja, o motor que funciona como dínamo deve gerar energia para alimentar essa carga, conforme mostra a figura 2.
Motor gerando energia para a carga.
Motor gerando energia para a carga.
Tanto mais corrente exige a carga, ou seja, menor a sua resistência, mais força precisamos fazer para girar o eixo do motor.
Podemos colocar esse comportamento num gráfico em que a força versus a corrente produzida são plotados, conforme a figura 3 mostra.
Gráfico Força X Corrente.
Gráfico Força X Corrente.
Isso significa que, se tivermos um meio de ajustar a carga, podemos empregar um motor como um eficiente dispositivo de torque ajustável.
Veja que os motores, por serem dispositivos bastante robustos, podem manusear com facilidade forças relativamente elevadas.
Partindo desse comportamento elétrico, podemos fazer um interessante arranjo para medir o torque de um motor.
Esse arranjo é mostrado na figura 4.
Esquema para medir o torque de um motor.
Esquema para medir o torque de um motor.
Uma fonte de alimentação ajustável com indicadores de corrente e tensão alimenta o motor que vai ser testado.
O motor é acoplado a um segundo motor através de uma bucha, conforme mostra a figura 5.
Acoplamento dos motores.
Acoplamento dos motores.
Esse segundo motor vai servir de carga e nele ligamos tanto um amperímetro como um voltímetro para medir a corrente e tensão geradas quando ele funciona.
Na verdade, a medida da corrente e tensão na carga é menos importante do que a medida da rotação (velocidade) e da tensão e corrente da fonte.
No eixo do motor acoplamos também um disco estroboscópico que possibilitará a medida da sua velocidade de rotação (rpm).
Conforme já vimos em artigo dessa revista, o estroboscópio pode ser montado com facilidade a partir de um oscilador e de um LED de boa potência.
A partir desse arranjo podemos medir exatamente a potência aplicada ao motor nas condições de determinada rotação.
Por exemplo, se a uma rotação de 500 rpm a tensão aplicada ao motor for de 6 V e a corrente de 0,5 ampères podemos dizer que a potência que está sendo entregue ao motor é de:
P = V x I
P = 6 x 0,5
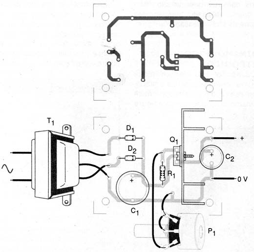
Na figura 6 mostramos um circuito relativamente simples de fonte variável de 0 a 12 V e que pode fornecer correntes de até 2 A.
Fonte variável 0-12 V/ 2 ª
Fonte variável 0-12 V/ 2 ª
A placa de circuito impresso para a montagem dessa fonte é mostrada na figura 7.
Sugestão de placa.
Sugestão de placa.
Voltando ao circuito de prova, a carga pode ser de diversos tipos, conforme a potência do motor.
Para motores de pequena potência (até 6 V x 0,5 A) podemos usar como carga um potenciômetro de fio de 50 ? x 5 W.
Se bem que existam potenciômetros de maiores dissipações, que podem ser utilizados com motores de maior potência, além de serem caros não são muito fáceis de encontrar.
Para motores maiores temos duas possibilidades:
A primeira consiste em se utilizar resistores de fio de 5 a 10 W de dissipação com valores escalonados como: 1; 2,2; 3,3; 4,7; 5,6; 6,8; 8,2; 10; 12 e 15 ?.
Outra possibilidade é mostrada na figura 8 e consiste num reostato variável elaborado em torno de um transistor TIP31.
Reostato variável.
Reostato variável.
Esse circuito pode manusear correntes de até uns 3 A e tensões até uns 12 V sem problemas.
O transistor deverá ser montado num radiador de calor.
Para medir a rotação pode ser utilizado um osciloscópio ou ainda um freqüencímetro.
No entanto, a possibilidade econômica consiste no circuito de estroboscópico que publicamos na edição (?).
Dinamômetro Caseiro
A construção de um dinamômetro caseiro não é muito difícil.
A idéia é medir o torque de pequenos motores de corrente contínua utilizando recursos que podem ser conseguidos com facilidade.
Tudo o que precisamos é de um pequeno dinamômetro do tipo mostrado na figura 9, utilizados nos laboratórios de escolas de nível médio nas experiências de física.
Dinamômetro
Dinamômetro
Conforme indicaremos mais adiante, esse dinamômetro pode ser substituído por uma balança de cozinha sensível.
O arranjo para a medida do torque é mostrado na figura 10 e funciona da seguinte maneira.
Arranjo para a medida do torque do motor
Arranjo para a medida do torque do motor
O motor sob teste é preso de forma que possa girar com uma certa facilidade movendo uma alavanca.
Essa alavanca atua sobre o dinamômetro a uma distância conhecida de seu eixo.
Para maior facilidade de utilização com diversos tipos de motores, a distância que o dinamômetro é fixado pode ser alterada.
Quando alimentamos o motor sob teste com uma tensão determinada, ao variar a carga através de um dos circuitos que indicamos, ele precisa fazer mais força para movimentar o eixo do outro motor que atua como dínamo.
Fazendo essa força como ela está num sistema com certa liberdade, ele reage transmitindo essa força para o braço da alavanca e com isso para o dinamômetro.
Em outras palavras o dinamômetro vai indicar a força que o motor está fazendo para girar o motor que funciona como carga quando alimentado por determinada tensão.
Para calcular o torque, basta lembrar que:
T = mgr
ou T = Fr
Onde:
T é o torque em N.m
F é a força indicada pelo dinamômetro em Newtons
r é a distância do eixo do motor no qual está fixado o dinamômetro em metros.
Evidentemente, ao alimentar o motor o operador deve tomar cuidado para fazê-lo no sentido correto para que a força sobre o dinamômetro ocorra no sentido que ele indique.
Podemos substituir o dinamômetro por uma balança caseira sensível,
Veja que esse arranjo permite comparar a eficiência de diversos motores, verificando-se qual tem mais torque com uma determinada potência.
Nesse caso, para obter a potência consumida na condição de determinado torque, basta multiplicar a tensão aplicada pela corrente.
Essa potência será obtida em watts.
Pronto! Agora você já poderá testar seus motores antes de uma aplicação e até escolher num lote deles qual tem maior torque sob determinada condição de operação

Nenhum comentário:

Postar um comentário